1、特点
输入电压范围:2.7 V至10 V
输出电压范围:1.25 V至9 V
2.5%调整引脚电压精度(25°C)
低压差:1 A时为450 mV(典型值为5 VVOUT)
精密(微调)带隙基准
确保-40°C至+125°C的规格
1-μA断开状态静态电流
热过载保护
可折叠限流
启用(EN)引脚(LP38692-adj-ic/" title="LP38692-ADJ">LP38692-ADJ)
5针SOT-223和6针WSON封装
2、应用
硬盘驱动器
笔记本电脑
电池供电设备
便携式仪器
3、说明
LP38690-ADJ和LP38692-adj-ic/" title="LP38692-ADJ">LP38692-ADJ低压差CMOS线性稳压器提供2.5%的精度参考电压,极低的压降(1-A负载电流下450 mV,VOUT=5 V)和利用超低当量的优异交流性能串联电阻(ESR)陶瓷输出电容器。WSON和SOT的低热阻-允许运行223个完整的包即使在高环境温度下也能使用环境。使用PMOS功率晶体管意味着直流基极驱动电流需要使其偏置接地引脚电流保持在100μA以下不管负载电流、输入电压或运行温度。
跌落电压:450 mV(典型值)为1 A(典型值输出5伏)
接地引脚电流:满载时55μA(典型值)
调整引脚电压:2.5%(25°C)精度
电气特性
除非另有规定:典型限值为TJ=25°C,最小和最大限值适用于整个操作温度范围;VIN=VOUT+1 V,CIN=COUT=10μF,ILOAD=10毫安。最小和最大限值通过测试、统计相关性或设计。

(1) 典型数字代表25°C操作最有可能的参数规范。
(2) 输出电压线路调节是指由于输入电压的变化而引起的输出电压与标称值的变化。
(3) 输出电压负载调节是指当负载电流从1mA增加到满载。
(4) 压降定义为保持输出在标称值100 mV范围内所需的最小输入输出差。
典型特征
除非另有规定:TJ=25°C,CIN=COUT=10μF,EN引脚与VIN(仅限LP38692-adj-ic/" title="LP38692-ADJ">LP38692-ADJ)相连,VOUT=1.25 V,VIN=2.7五、 ILOAD=10 mA。



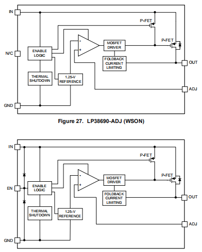
详细说明
概述
LP3869x调整设备的设计满足便携式,电池供电的数字系统的要求提供精确的输出电压和快速启动。通过启用引脚的低逻辑信号禁用时(EN),功耗几乎降到零(仅限LP38692-adj-ic/" title="LP38692-ADJ">LP38692-ADJ)。LP3869x设备性能良好有一个1μF输入电容和一个1μF陶瓷输出电容。

功能描述
可折叠限流
可折叠电流限制内置在LP3869x ADJ中,可减少部件的输出电流量输出电压降低时输出。负载电流的大小取决于压差在VIN和VOUT之间。通常,当电压差超过5V时,负载电流将限制在450毫安。当VIN–VOUT差降至4 V以下时,负载电流限制在1500 mA左右。
设备功能模式
启用引脚(仅限LP38692-adj-ic/" title="LP38692-ADJ">LP38692-ADJ)
LP38692–ADJ有一个启用引脚(EN),允许外部控制信号打开调节器输出然后离开。启用开/关阈值没有滞后。电压信号必须清晰地上升和下降,并且迅速通过开关电压阈值。EN引脚没有内部上拉或下拉来建立默认条件,因此,必须主动或被动终止此引脚。如果EN引脚被驱动从一个高电压和低电压的电源中,驱动电压不能低于地电位或高于VIN。如果应用程序不需要启用功能,则必须将管脚直接连接到IN引脚。
申请信息
反向电压
当OUT引脚上的电压高于IN引脚上的电压时,存在反向电压情况。通常情况下,当IN被突然放低,并且不能继续保持足够的电荷时,就会发生这种情况输入到输出的电压变得相反。一种不常见的情况是当备用电压源连接到输出端。在反向电压期间,电流从输出引脚流回输入端有两种可能的路径条件。
1、当车辆识别号(VIN)高到足以使控制电路保持工作状态,且EN引脚(仅限LP38692-adj-ic/" title="LP38692-ADJ">LP38692-ADJ)高于即使(开)阈值,控制电路将尝试调节输出电压。如果输入电压较低控制电路比编程的输出电压驱动通路元件的栅极完全接通条件。在这种情况下,反向电流从OUT引脚流向In引脚,仅受的RDS(ON)限制通过元件和输出到输入的电压差。输出电容器放电高达1000μF当电流迅速衰减时,这种方式不会损坏设备。但是,连续反转必须避免电流。当EN引脚较低时,可防止这种情况。
2、内部PFET通道元件有一个固有的寄生二极管。在正常运行期间,输入电压高于输出电压且寄生二极管反向偏压。但是,当车辆识别号(VIN)低于控制电路带电或EN引脚低(仅限LP38692-adj-ic/" title="LP38692-ADJ">LP38692-ADJ)且输出电压为高于输入电压500毫伏(典型值)时,寄生二极管会产生正向偏压和电流通过二极管从OUT引脚流向IN引脚。寄生二极管中的电流必须限制在小于1-A连续和5-A峰值。如果用于双电源系统,其中调节器输出负载返回负电源,则输出引脚必须将二极管夹紧接地,以限制负电压转换。建议使用肖特基二极管这个保护夹。


详细设计程序
设置输出电压
使用外部电阻器R1和R2设置输出电压(见图29和图30)。输出电压由式1给出:VOUT=VADJ×(1+(R1/R2))(1)由于零件的最小负载电流要求为100μa,TI建议R2始终为12 kΩ或更少,以提供足够的负载。即使最小负载总是通过其他方式提供,它也不是建议对R1和R2使用非常高的电阻值,因为它可以使ADJ节点易受噪音影响。建议R2的最大值为100 kΩ,以防止发生这种情况。
外部电容器
像任何低压差调节器一样,需要外部电容器来保证稳定性。这些电容器必须正确选择以获得适当的性能。
输入电容器
需要至少1μF的输入电容器(建议使用陶瓷)。电容器的位置不得超过离IN引脚1厘米以上,返回到干净的模拟地面。
输出电容器
需要一个输出电容器来保证回路的稳定性。它必须位于距离设备不到1厘米的地方,并且直接连接到OUT和GND引脚,使用没有其他电流流过的痕迹。可用于稳定运行的最小输出电容量为1μF。陶瓷电容器推荐使用(LP3869x ADJ设计用于超低ESR电容器)。LP3869x调节器是输出电容ESR在0Ω和100Ω之间稳定。
选择电容器
必须注意的是,必须考虑电容公差和随温度变化的情况当选择电容器时,使所需的最小电容量大于工作温度范围。
陶瓷
对于10-100μF范围内的电容值,陶瓷通常比由于钽电容器具有很高的杂讯,所以具有很高的杂讯ESR(通常小于10 mΩ)。然而,一些介质类型并不具有良好的电容特性作为电压和温度的函数。Z5U和Y5V介电陶瓷的电容随外加电压的增加而急剧下降。典型的Z5U或Y5V电容器在施加一半额定电压的情况下,会损失60%的额定电容。Z5U和Y5V同时还表现出严重的温度效应,在温度范围。如果使用陶瓷,强烈建议使用X7R和X5R介质陶瓷电容器,因为它们通常是在温度和电压的满工作额定值的±20%范围内保持电容范围。对于给定的电压和电容,它们通常比Z5U/Y5U型号更大、成本更高。
钽
固体钽电容器具有良好的温度稳定性:高质量的钽通常表现为电容在-40°C到+125°C的整个温度范围内变化小于10-15%的值。ESR仅变化约2×从高温到低温极限。当使用边际质量电容器时,较低温度下的ESR增加会导致振荡(如果电容器的ESR在室温下接近稳定范围的上限)。
射频干扰/电磁干扰敏感性
射频干扰(RFI)和电磁干扰(EMI)会降低任何集成电路的性能由于设备内部的几何尺寸较小,所以性能良好。在电路应用中存在产生大量高频能量含量(>1MHz)的信号源,必须小心确保这不会影响设备调节器。如果调节器的输入侧存在RFI/EMI噪声(例如输入源出现的应用从开关调节器的输出),必须在设备。如果负载连接到高速开关的设备输出(如时钟),则高频负载所需的电流脉冲必须由设备输出上的电容器提供。因为带宽如果调节器回路小于100 kHz,则控制电路无法对高于该值的负载变化作出响应频率。这意味着在100 kHz以上的频率下确定了设备的有效输出阻抗只靠输出电容器。在负载高速切换的应用中,设备的输出可能需要射频隔离负荷。建议在输出电容器和负载之间放置一些电感,以及好的射频旁路电容器直接放置在负载上。PCB布局在高噪声环境中也很重要,因为RFI/EMI很容易直接辐射到PC轨迹中。噪声电路应尽可能与干净的电路隔离,并通过单独的路径接地。在MHz频率,接地平面开始看起来是感应的,RFI/EMI可能会导致地面反弹地平面。在多层印刷电路板的应用中,应注意布局,使噪音大的电源和接地飞机不会直接辐射到携带模拟电源和地面的相邻层。
输出噪声
噪声有两种规定:斑点噪声或输出噪声密度是所有噪声源的均方根和,在调节器输出处,以特定频率测量(以1-Hz带宽测量)。就是这种噪音通常作为频率的函数绘制在曲线上。总输出噪声或宽带噪声为均方根和在特定的带宽上,通常是几十年的频率范围内的斑点噪声。必须注意计量单位。点噪声的测量单位为μV/√Hz或nV/√Hz和总计输出噪声以μVRMS为单位进行测量低压差稳压器的主要噪声源是内部基准。噪音可以一分为二方法:通过增加晶体管面积或增加内部基准电流。增加的该区域减少了将模具装配到较小包装中的可能性。增加内部参考增加总电源电流(GND引脚电流)。
功耗
了解设备的功耗和连接到凸耳或焊盘的热平面的正确尺寸是对确保可靠运行至关重要。设备功耗取决于输入电压、输出电压和荷载条件和可用公式2计算。车辆识别号(VIN)=最大值2通过使用可用的最低功耗,可以将功耗降到最低,并实现更高的效率电压降选项仍将大于压降电压(VDO)。但是,请记住电压降会产生更好的动态性能(即PSRR和瞬态)。在WSON(NGD)封装中,热量的主要传导路径是通过暴露的功率垫到印刷电路板。为确保设备不会过热,通过热通孔将裸露的焊盘连接到内部接地板有适当数量的铜PCB面积。在SOT-223(NDC)封装上,热量的主要传导路径是通过引脚到PCB。功耗和结温通常与环境热阻有关(RθJA)根据式3或式4:TJ(MAX)=TA(MAX)+(RθJA×PD(MAX))PD=TJ(最大)–TA(最大)/RθJA
不幸的是,这种RθJA高度依赖于特定PCB设计的热扩散能力,并且因此,根据铜的面积和总面积的不同而不同。RθJA记录热信息由特定的EIA/JEDEC JESD51-7 PCB和铜铺展面积标准确定,仅作为封装热性能的相对测量。对于设计良好的热布局,RθJA实际上是封装结与外壳(底部)热阻之和(RθJCbot)加上作为热沉的PCB铜区的热阻贡献。
估算结温
EIA/JEDEC标准建议使用psi(Ψ)热特性来估计结典型PCB板应用表面贴装设备的温度。这些特征不是真的热阻值,而是包装特定的热特性,提供实用和相对的估计结温的方法。这些psi指标被确定为显著独立于铜扩散区。关键热特性(ΨJT和ΨJB)在热信息中给出,并且根据式5或式6使用。TJ(最大)=TTOP+(ΨJT×PD(MAX))
PD(MAX)在方程式4中进行了解释•TTOP是在装置封装的中心顶部测得的温度。TJ(MAX)=t板+(ψJB×PD(MAX))
PD(MAX)在方程式4中解释。TBOARD是从设备封装1毫米处测得的PCB表面温度,并以包装边缘。
电源建议
LP3869x ADJ设备设计用于在2.7 V到10 V的输入电源电压范围内工作输入电源必须调节良好,无杂音。以确保LP3869x调节器的输出电压如果调节良好,输入电源必须至少为VOUT+0.5v或2.7v,以较高者为准。最低限度电容器值1-μF要求在IN引脚1cm范围内。
布局
布局指南
必须使用良好的PC布局实践,否则会因接地回路和电压降而导致不稳定。输入和输出电容器必须使用直接连接到调节器的输入、输出和接地引脚没有其他电流流过的记录道(开尔文连接)。最好的方法是将CIN和COUT布置在设备附近,并对输入、输出和GND进行短距离跟踪别针。调节器接地针脚必须连接到外部电路接地,以便调节器及其电容器有单点接地。稳定性问题已经出现在使用内部接地层通孔的应用中装置的接地点以及输入和输出电容器。这是由于这些节点是由流过地平面的电流引起的。使用单点接地技术调节器和调节器电容器解决了这个问题。因为高电流流过输入和输出,开尔文将电容器引线连接到这些引脚上,这样就不会有电压降串联输入和输出电容器。

WSON安装
NGG0006A(无回拉)6引线WSON封装需要具体的安装技术,这些技术都是详细说明的在AN-1187无铅引线框架封装(LLP)中,SNOA401。要与WSON包一起使用的pad样式是NSMD(非焊接掩模定义)类型。此外,TI建议PCB端子垫为0.2 mm比封装焊盘长,形成焊角,提高可靠性和检验性。输入电流在两个IN引脚1和6之间分流。两个IN销必须连接在一起以确保装置在额定电流下能满足所有规格。WSON封装的散热性能直接关系到印刷电路板的结构和结构连接到DAP的额外铜面积。WSON封装底部的DAP(暴露焊盘)通过导电材料连接到模具基板粘上粘合剂。DAP与任何引脚没有直接的电气(导线)连接。有一个寄生的PN芯片基板和设备接地之间的连接。因此,强烈建议DAP在设备导线2(即GND)处直接接地。或者,但不推荐,DAP可以保持漂浮状态(即没有电气连接)。DAP不得连接到除接地。
安芯科创是一家国内芯片代理和国外品牌分销的综合服务商,公司提供芯片ic选型、蓝牙WIFI模组、进口芯片替换国产降成本等解决方案,可承接项目开发,以及元器件一站式采购服务,类型有运放芯片、电源芯片、MO芯片、蓝牙芯片、MCU芯片、二极管、三极管、电阻、电容、连接器、电感、继电器、晶振、蓝牙模组、WI模组及各类模组等电子元器件销售。(关于元器件价格请咨询在线客服黄经理:15382911663)
代理分销品牌有:ADI_亚德诺半导体/ALTBRA_阿尔特拉/BARROT_百瑞互联/BORN_伯恩半导体/BROADCHIP_广芯电子/COREBAI_芯佰微/DK_东科半导体/HDSC_华大半导体/holychip_芯圣/HUATECH_华泰/INFINEON_英飞凌/INTEL_英特尔/ISSI/LATTICE_莱迪思/maplesemi_美浦森/MICROCHIP_微芯/MS_瑞盟/NATION_国民技术/NEXPERIA_安世半导体/NXP_恩智浦/Panasonic_松下电器/RENESAS_瑞莎/SAMSUNG_三星/ST_意法半导体/TD_TECHCODE美国泰德半导体/TI_德州仪器/VISHAY_威世/XILINX_赛灵思/芯唐微电子等等
免责声明:部分图文来源网络,文章内容仅供参考,不构成投资建议,若内容有误或涉及侵权可联系删除。
Copyright © 2002-2023 深圳市安芯科创科技有限公司 版权所有 备案号:粤ICP备2023092210号-1