特点
•符合TIA/EIA-232-E和CCITT V.28规范
•使用单+3.3V电源运行
•低功率要求-ICC最大20 mA
•停机模式-最大ICX 10μA
•一个接收器(R5)在关闭期间处于活动状态
•运行速度高达128 kbps-兼容Lap Link
•流经插脚
•确保4V/μs最小转换速率
•与+5V UART互操作
•提供28引线SSOP EIAJ II型封装
说明
DS14C335是三驱动器,五个接收器设备,符合TIA/EIA-232-E和CCITT V.28标准规范。该装置采用内部DC-DC转换器,从+3.3V电源产生必要的输出电平。关机(SD)模式将电源电流降低到最大10μA。在SD模式下,一个接收器处于活动状态,允许环形指示器(RI)处于活动状态监控.PC电路板的空间消耗被缩小的小外形包装(SSOP)的可用性最小化。
该设备的低功耗和小尺寸使其成为笔记本电脑和笔记本电脑应用的理想选择。
接线图

功能图

这些设备具有有限的内置ESD保护。在储存或搬运过程中,应将引线短接在一起,或将设备放置在导电泡沫中,以防止对MOS门造成静电损伤。
参数测量信息



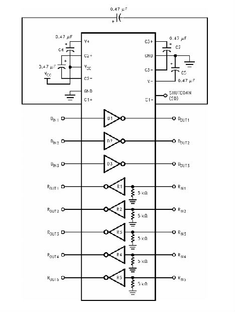
管脚说明
VCC(针脚3):设备电源引脚,+3.3V(±0.3V)。
V+(针脚1):TIA/EIA-232-E驱动器的正电源。推荐外部电容器-0.47μF(16V)。此电源不用于外部加载。
V−(针脚25):TIA/EIA-232-E驱动器的负电源。推荐外部电容器-0.47μF(16V)。此电源不用于外部加载。
C1+,C1−(针脚6、24):外部电容器连接引脚。推荐电容器-0.47μF(6.3V)。
C2+,C2−(针脚2、4):外部电容器连接引脚。推荐电容器-0.47μF(16V)。
C3+,C3−(针脚28、26):外部电容器连接引脚。推荐电容器-0.47μF(6.3V)。
关机(SD)(针脚23):关机引脚上的高电平将使总的ICC电流降低到10μA以下,从而提供低功耗状态。在此模式下,接收机R5保持激活状态。SD引脚应驱动或绑低(GND)以禁用关机模式。
DIN 1–3(针脚7、8、9):驱动器输入引脚与JEDEC 3.3V标准兼容。
DOUT 1–3(针脚22、21、20):驱动器输出引脚符合TIA/ElA-232-E等级。
RIN 1–5(针脚19、18、17、16、15):接收器输入引脚接受TIA/EIA-232-E输入电压(±25V)。接收器指定TBD mV的滞后。未使用的接收器输入引脚可能保持打开状态。内部输入电阻(5 kΩ)拉低输入,提供故障保护高输出。
路径1–5(针脚10、11、12、13、14):接收器输出引脚与JEDEC 3.3V标准兼容。
GND(针脚27):接地引脚。
申请信息
9针串行端口应用程序
在典型的数据终端设备(DTE)到数据电路终端设备(DCE)的9针实际接口实现中,需要2条数据线和6条控制线。数据线是TXD和RXD,控制线是RTS、DTR、DSR、DCD、CTS和RI。DS14C335是一个3 x 5驱动器/接收器,为DTE接口提供了一个单芯片解决方案,如图10所示。
响铃指示器(RI)用于通知DTE有一个来自远程DCE的来电。当DS14C335处于关机(SD)模式时,接收器5(R5)保持激活状态并监视RI电路。此活动接收器(R5)警告DTE将DS14C335从关机模式切换到活动模式。

鼠标驱动
DS14C335在以下鼠标驱动条件下进行驱动电流测试:
•两个驱动器输出设置在VOH上,它们的输出连接在一起(并联),源电流为鼠标电子设备的V+终端供电
•一个驱动器输出设置为VOL,以吸收鼠标电子设备V-端子的电流
•使用一个接收器接收来自鼠标的数据
•电源电压(VCC):3.0V至3.6V
完成测试(由TI的数据传输应用小组和一家主要的PC制造商执行)的结论是DS14C335及其DC-DC转换器提供了足够的驱动能力来驱动一个典型的PC鼠标。测试的老鼠在以下条件下被指定:
+6V时为10mA
-6V时为5.0mA
由于驱动电流是有限的,建议为电池供电的应用指定新的低功耗鼠标。使用老的大功率鼠标是浪费宝贵的电池充电。
外部DC-DC转换器组件
DS14C335及其独特的DC-DC转换器将电源电压(3.0V)提高三倍至+9.3V,然后将其转换为−9V电位。这种独特的转换器只需要5个外表面安装0.47μF电容器。为了简化PCB的布局和元件的采购,选择了五个相同的元件。DS14C335的DC-DC转换器还提供了更大的信号摆幅(在RS-232标准数据速率下更高),与其他仅提供有限信号摆幅和有限噪声裕度的DC-DC转换器方案相比,后者可转换为更大的噪声容限,以抑制地电位差、感应噪声和串扰。
DC-DC变换器电容器
不需要使用极化电容器。但是,如果使用它们,则必须遵守DS14C335功能图中指示的极性,以便正确操作。可以使用表面贴装电容器或陶瓷电容器,但是为了获得最佳效率,应使用具有低有效串联电阻(ESR)的电容器。通常可接受低欧姆(Ω)值。
与+5V UART的互操作
DS14C335提供了完整的RS-232驱动程序输出电平,并为流行的9针Faacto串行端口提供了单芯片解决方案。该装置可用于纯+3V应用或混合供电+3V/+5V应用。驱动器输入(DIN)和关机(SD)输入引脚可直接接受全+5V电平,无需任何外部元件。在源极为1mA时,接收器输出(ROUT)规定为最小2.4V。此级别与标准TTL阈值兼容。有关“DS14C335与+5V UART的互操作”的完整讨论,请参阅TI应用说明AN-876(SNLA163)。
实际RS-232应用中的功耗
DS14C335 DC-DC转换器使用特殊电路,有助于限制随着频率增加而增加的电源电流。有关RS-232应用的功耗和计算的完整说明,请参见TI应用注释AN-914(SNLA037),标题为“了解RS-232应用中的功率要求”。本数据表中还提供了典型的性能曲线,以供快速参考。
典型性能特征


安芯科创是一家国内芯片代理和国外品牌分销的综合服务商,公司提供芯片ic选型、蓝牙WIFI模组、进口芯片替换国产降成本等解决方案,可承接项目开发,以及元器件一站式采购服务,类型有运放芯片、电源芯片、MO芯片、蓝牙芯片、MCU芯片、二极管、三极管、电阻、电容、连接器、电感、继电器、晶振、蓝牙模组、WI模组及各类模组等电子元器件销售。(关于元器件价格请咨询在线客服黄经理:15382911663)
代理分销品牌有:ADI_亚德诺半导体/ALTBRA_阿尔特拉/BARROT_百瑞互联/BORN_伯恩半导体/BROADCHIP_广芯电子/COREBAI_芯佰微/DK_东科半导体/HDSC_华大半导体/holychip_芯圣/HUATECH_华泰/INFINEON_英飞凌/INTEL_英特尔/ISSI/LATTICE_莱迪思/maplesemi_美浦森/MICROCHIP_微芯/MS_瑞盟/NATION_国民技术/NEXPERIA_安世半导体/NXP_恩智浦/Panasonic_松下电器/RENESAS_瑞莎/SAMSUNG_三星/ST_意法半导体/TD_TECHCODE美国泰德半导体/TI_德州仪器/VISHAY_威世/XILINX_赛灵思/芯唐微电子等等
免责声明:部分图文来源网络,文章内容仅供参考,不构成投资建议,若内容有误或涉及侵权可联系删除。
Copyright © 2002-2023 深圳市安芯科创科技有限公司 版权所有 备案号:粤ICP备2023092210号-1