特征
•VIN范围:3.0V至5.5V
•双独立电流限制
-75毫安至1200毫安
-±10%电流精度
-20°C温度带
•反向电流闭锁保护
•电源回路
•低静态电流
-典型值40μA
-关闭时最大1.0μA
•65mΩ典型RDS(开),3V
•启用控制引脚只需1.4V
•具有外部可编程滞后的系统就绪输出
•欠压闭锁
•温度范围:-40至85°C
•12针TSOPJW封装或14针TDFN33封装
应用
•电容充电器
•CF卡端口电源保护
•快捷卡GSM/GPRS/3G调制解调器
•PC卡GSM/GPRS等级10/12调制解调器
•WiMAX卡
一般说明
AAT4621 SmartSwitch是一款电流受限的Pchannel MOSFET电源开关,专为PC卡GSM/GPRS/3G调制解调器卡中的高端负载切换应用而设计。与超级电容器配合使用时,AAT4621将确保PCMCIA主机的额定功率在任何时候都不会超过。可编程的电容器T4621可独立充电,无需两个电流限制。电流限制由两个外部电阻器设置,允许在正常工作温度范围内有±10%的电流限制精度。开关可以从两个启用输入中的任何一个进行控制,在断开状态下,将阻断两个方向的电流。AAT4621还包含一个系统就绪功能,该功能可以通知系统超级电容器已完全充电并准备好使用。可调磁滞是通过增加一个外部电阻器来实现的。静态电源电流通常为低40μa。在关机模式下,电源电流减小至小于1μa。
AAT4621提供热增强型、无铅、12针TSOPJW或14针TDFN33封装,其温度范围为-40°C至85°C。
典型应用

典型特征







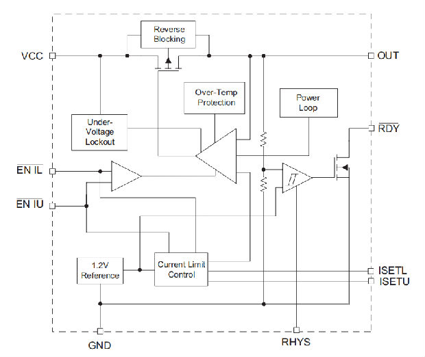
功能框图

功能描述
AAT4621是一个集成P沟道MOSFET负载开关,具有可独立启用的上下限可调电流、过温保护、电源回路和超级电容充电器。限流控制与超温热限制和功率回路电路相结合,提供一个综合系统,以保护负载开关及其电源免受超过电源规格的负载条件的影响。AAT4621专门设计用于提供PCMCIA主机和PC卡之间的接口,在PCMCIA主机和PC卡上使用超级电容器“平均”高脉冲电流,否则将超过PCMCIA/Express卡电源规格。e、 g.GSM/GPRS调制解调器卡,在传输信号期间脉冲电流可超过1A最大规格(对于Express卡,为1.3A)。
限流和超温电路独立工作。当输出负载电流超过内部阈值水平时,设备电流限制被激活。有两个独立启用的内部电流限制。每种情况下的电流限制阈值由连接在两个设置引脚和接地之间的外部电阻器确定。最小电流限制阈值由ILIM(MIN)指定。如果负载条件使器件保持在电流极限,芯片温度达到临界点,那么内部电源回路将把电流降低到安全水平。将ISETU连接到地面将禁用电流限制保护,允许低阻抗路径连接到主机VCC。
通过应用逻辑关闭负载开关两个EN引脚的高电平。当两者同时存在时选择了EN-IU将选择ISETU。EN功能具有逻辑电平阈值,允许AAT4621兼容TTL,也可以由2.5V至5.0V CMOS电路控制。施加在EN引脚上的电压电平不应超过VCC引脚上的输入电源电平。通常,当从T4 1输出的电流被阻止时,从T4 1输出的电流减少。
欠压锁定电路确保VCC电源足够高,以便IC正常工作。还包括一个系统就绪功能,当电容器电压被充电,负载被允许接受电流时,该功能将被激活。对于自动功能,此引脚可以直接连接到EN-IU引脚。提供了一个外部电阻器来增加该功能的滞后性。
申请信息
ISETU和ISETL电流限制设置
AAT4621电流限制设置为两个不同的水平。ISETL和ISETU的电阻器分别设置电流的下限和上限。
ISETL和ISETU节点在0.75V到1.5V的窗口内工作,电阻值在93.75Ω到1.5MΩ之间。不建议电阻值超出此范围。ISETL和ISETU源电流随表1中使用的电阻值而变化。要确定产生的电流限制,将RSETU或RSETL节点电压乘以表1中的增益。注意,节点处的电压在0.75V到1.5V之间变化,电流限制增益根据使用的电阻值而变化。

如果设定引脚开路或允许超过2V,则所有电源设备将被禁用,输入与输出断开。将set引脚短接至GND,可启用所有电源设备,并将VCC与输出引脚短路,无电流限制。
要激活上电流电平(RSETU),请将EN IU拉低。要激活低电流电平(RSETL),请拉低EN IL。如果将EN-IU和EN-IL都拉低,则将选择EN-IU电流限制电平(RSETU)。


系统就绪滞后(RHYS)和系统就绪(RDY)
内部比较器检测输出电压,当输出电压达到最终值(VCC)的98%时,向外部微控制器发送就绪信号。比较器迟滞由RHYS引脚到接地的电阻编程。RHYS电压决定了滞后电压,等于RHYS源电流(1μA)乘以RHYS电阻。

系统就绪引脚(RDY)是一个开路漏极输出,当输出电压达到输入电压的98%时,它会切换到低电平。它需要一个连接到输入电压的外部上拉电阻器,典型值为100kΩ。
电源回路
AAT4621电源环路在设备功耗过大的情况下限制负载电流。AAT4621电源回路将模具温度调节至110°C,当模具温度达到110°C时,以电流限制设定值的1/32为增量降低负载电流。当模具温度超过110°C时,它会将负载电流降低电流限制设定值的1/32。如果模具温度低于110°C,则以电流限制设定值的1/32为增量增加负载电流,直到达到设定电流限制点或模具温度超过110°C。
模具温度测量之间的延迟时间取决于负载电流限制设定值。对于75mA电流限制设定值,延迟范围为0.5ms;对于1.2A电流限制设定值,延迟范围为4ms。
对于没有电流限制设定点的情况(RSETU或RSETL对地短路),软启动增加电流限制为1.2A的1/32步,直到电流达到1.2A,此时功率MOSFET完全打开。此时,电流受到功率MOSFET的RDS(ON)和其他串联电阻的限制。然后电源回路和过热回路控制电流,直到输出电压完全充电。
过热保护
如果模具的温度上升速度足够快,超过电源回路规定的温度,超温关机会使设备失效。超温阈值为145°C。超温停机后,一旦模具温度降至130°C,软启动启动。
短路保护
当输出端充电到输入电压的18mV以内时,串联功率MOSFET会完全关闭。在输出短路的情况下,这可以保护设备。在对输出施加短路或重负载后,导致输出下降到18mV阈值以下加上一些滞后,电流将立即尝试从零转换到最终编程值。只要输出为VIN 18mV或直到模具温度达到110oC,该设备将继续输出电流限制。如果温度发生回退,则电源回路将激活。
欠压停机
欠电压锁定使装置在2.7V电压下正常工作,滞后100mV。最大UVLO电平为3.0V。
数字编程软启动电流限制
开启时,数字软启动以等于最终编程电流限制设定值1/32的离散电平将负载电流从零增加到最终编程电流限制电平。
一旦AAT4621对超级电容充满电,软起动电路将被禁用。软起动功能仅在以下情况下重新激活:
1.电源或启用循环关闭和重新打开。
2.热关机启动
3.从ENU切换到ENL,反之亦然,或
4.过电流事件后,例如硬输出短路。
反向电流闭锁
当输入电压小于输出电压时,内部比较器会禁用内通晶体管,阻断从输出到输入的任何反向电流。
评估委员会
评估板示意图如图2所示。TSOP封装的PCB布局如图3和4所示。TDFN包布局如图5和图6所示。





包装信息

1、所有尺寸单位为毫米。
2、 XYY=装配和日期代码。
3、 样品库存通常以粗体显示的零件号为准。
4、 无铅封装系列包括QFN、TQFN、DFN、TDFN和STDFN,由于制造过程的原因,在引线端子末端有裸露的铜(未镀)。不能保证外露铜边处的焊角,也不需要确保底部焊接连接正确。

1、所有尺寸单位为毫米。
安芯科创是一家国内芯片代理和国外品牌分销的综合服务商,公司提供芯片ic选型、蓝牙WIFI模组、进口芯片替换国产降成本等解决方案,可承接项目开发,以及元器件一站式采购服务,类型有运放芯片、电源芯片、MO芯片、蓝牙芯片、MCU芯片、二极管、三极管、电阻、电容、连接器、电感、继电器、晶振、蓝牙模组、WI模组及各类模组等电子元器件销售。(关于元器件价格请咨询在线客服黄经理:15382911663)
代理分销品牌有:ADI_亚德诺半导体/ALTBRA_阿尔特拉/BARROT_百瑞互联/BORN_伯恩半导体/BROADCHIP_广芯电子/COREBAI_芯佰微/DK_东科半导体/HDSC_华大半导体/holychip_芯圣/HUATECH_华泰/INFINEON_英飞凌/INTEL_英特尔/ISSI/LATTICE_莱迪思/maplesemi_美浦森/MICROCHIP_微芯/MS_瑞盟/NATION_国民技术/NEXPERIA_安世半导体/NXP_恩智浦/Panasonic_松下电器/RENESAS_瑞莎/SAMSUNG_三星/ST_意法半导体/TD_TECHCODE美国泰德半导体/TI_德州仪器/VISHAY_威世/XILINX_赛灵思/芯唐微电子等等
免责声明:部分图文来源网络,文章内容仅供参考,不构成投资建议,若内容有误或涉及侵权可联系删除。
Copyright © 2002-2023 深圳市安芯科创科技有限公司 版权所有 备案号:粤ICP备2023092210号-1