一般说明
LMC7215/LMC7225是超低功耗比较器最大1μa电源电流。它们被设计为在广泛的电源电压范围内工作,从2伏到8伏。LMC7215/LMC7225具有大于轨间通信模式的电压范围。这是单身的真正优势供应应用程序。LMC7215具有推挽输出级。此特性允许绝对最小数量的操作驱动任何负载时的功耗。LMC7225具有开路漏极输出。通过连接一个外部电阻,比较器的输出可以是用作电平变换器,以任何期望的电压高达15伏。LMC7215/LMC7225设计用于低功耗是关键参数。在整个电源电压范围内的保证运行2.7V至5V电压和轨对轨性能使该比较器非常适合电池供电应用。
特征
(除非另有说明,否则为典型)
超低功耗0.7μA
宽范围电源电压2V至8V
输入共模范围超过V+和V−
开路集电极和推挽输出
高输出电流驱动:(@VS=5V)45 mA
传播延迟(@VS=5V,10 mV过驱动)25μs
微型SOT23-5包装
闩锁电阻>300毫安
应用
笔记本电脑
移动电话
计量系统
手持电子设备
定时器
报警和监控电路
窗口比较器,多谐振荡器

绝对最大额定值(注1)
ESD公差(注2)2 kV
差分输入电压(VCC)+0.3V至(−VCC)−0.3V
输入/输出引脚(VCC)处的电压+0.3V至(−VCC)−0.3V
电源电压(V+–V负极)10伏
输入引脚处的电流±5 mA
输出引脚处的电流(注3)±30 mA
电源引脚电流40毫安
引线温度(焊接,10秒)260˚C
储存温度范围−65˚C至+150˚C
结温(注4)150˚C
工作额定值(注1)
电源电压2V≤VCC≤8V
结温范围
LMC7215IM,LMC7225IM−40˚C≤TJ≤+85˚C热阻(θJA)
M封装,8针表面安装165˚C/W
SOT23-5套餐325˚C/W
2.7V至5V电气特性
除非另有规定,TJ=25˚C,V+=2.7V至5V,V−=0V,VCM=VO=V+/2的所有限制。粗体限制在极端温度下使用。

2.7V至5V电气特性(续)
除非另有规定,TJ=25˚C,V+=2.7V至5V,V−=0V,VCM=VO=V+/2的所有限制。粗体限制在极端温度下使用。

交流电气特性
除非另有规定,TJ=25˚C,V+=5V,V−=0V,VCM=V+/2

注1:绝对最大额定值表示设备可能发生损坏的极限值。工作额定值表示设备处于正常工作状态,但具体性能无法保证。有关保证的规格和测试条件,请参阅电气特性。
注2:人体模型,1.5 kΩ串联100 pF。
注3:适用于单电源和分供操作。在较高环境温度下持续短路操作可导致超过最大允许结温150˚C。
注4:最大功耗是TJ(max)、θJA和TA的函数。任何环境温度下的最大允许功耗为PD=(TJ(最大)−TA)/θJA。所有数字适用于直接焊接到PC板上的封装。
注5:典型值代表最有可能的参数规范。
注6:所有限值均由试验或统计分析保证。
注7:VCM=0V至2.5V和2.5V-5V时测得的CMRR,当VS=5V时,VCM=0.2V至1.35V,当VS=2.7V时,在1.35V至2.7V下测得。这消除了在VCM极限处有较大的VOS,在VCM=VS/2时VOS较低或相反。
注8:所有测量在10 kHz下进行。测量LMC7225时使用了100 kΩ上拉电阻器。CLOAD=50 pF,包括测试夹具和示波器探头。LMC7225的上升时间是R-C时间常数的函数。
注9:传播测量的输入阶跃电压为100 mV。
注10:不要将LMC7225的输出短接至大于10V的电压,否则可能造成损坏。
典型性能特性TA=25˚C,除非另有规定

典型性能特性TA=25˚C,除非另有规定(续)

申请信息
响应时间
根据过驱动量的不同,延迟通常在10μs到200μs之间。显示延迟的曲线vs overdrive在“典型特征”部分显示输入预设为100 mV时的延迟时间输入,然后以1 mV至500的方式驱动毫伏。从高到低或从低到高的转变很快。典型的上升1μs,下降400 ns。在小信号输入下,比较器将提供正弦波输入的方波输出频率为高达25千赫。图1显示了一个最坏的示例,其中对输入施加±5 mV正弦波。注意,输出延迟了近180˚。

噪音
大多数比较器的增益相当低。当输入信号缓慢变化时,这允许输出在高电平和低电平之间花费时间。结果表明,当差分输入接近于零时,输出可能在高电平和低电平之间振荡。这些比较器的极高增益,10000伏/mV,消除了这个问题。小于1μV的变化输入将驱动输出从一个轨道到另一个轨道。如果输入信号有噪声,输出不能忽略噪声除非正反馈提供了一些滞后。

输入电压范围
LMC7215/25的输入电压范围更大比电源电压保证信号系统的某些部分不能过度驱动输入。这允许通过将一个输入直接连接到V+线和另一边的电流感应电阻器。如果感测电阻器位于接地回流管。感应电源电压也很容易通过连接一个输入直接供应。这些比较器的输入由二极管保护两种补给。这也保护输入免受静电放电的影响作为大大超过电源电压的信号。因此,电流将流过这些正向偏置二极管只要输入电压比电源大几百密耳。在这之前,没有输入电流。因此,放置一个大电阻与任何可能暴露在大电压下的输入串联,将限制输入电流,但没有其他明显的影响效果。如果输入电流被串联电阻(见图2)、阈值或过零检测器限制在5毫安以下,它的输入电压从几毫伏到高达5000V,由一个电阻和电容器组成。输入如上所述,这些比较器的输入电流几乎为零。这使得非常高的电阻电路用于匹配输入电阻时没有任何问题
申请信息(续)
这也允许在R-C型中使用非常小的电容器定时电路。这降低了电容器和已使用的板空间量。
电容性负载
高输出电流驱动允许大电容负载效果甚微。高达10000 pF的电容性负载对延迟没有影响,只会将转换速度减慢约3微秒。
输出电流
即使这些比较器使用小于1μA的电源电流,输出可以驱动非常大的电流。LMC7215在5V电源。LMC7215和LMC7225都可以下沉20毫安。(请参阅“典型”中的最大IO与VSupply的图表“特性”部分。)这种大电流处理能力允许驱动重载直接。LED,蜂鸣器和其他负载可以很容易地驱动。LMC7215的推挽输出级是一个非常重要的特性。这样可以保持系统的总功耗绝对最小值。唯一消耗的电流是小于1μA的电源电流和直流电流进入负载。当输出低。LMC7225仅在以下情况下推荐使用需要一个从一个逻辑电平到另一个逻辑电平的电平转换功能,其中LMC7225用作下位机电路中旧比较器的电源更换多个输出将被并行。
功率损耗
大的输出电流能力使它有可能超过最高工作结温85˚C和甚至可能是绝对最高结温150摄氏度。8针表面贴装封装的热阻为165°C/W。用2.7V电源将输出短路至接地只会导致比环境温度高出约5摄氏度。小得多的SOT23-5电池组的热阻为325摄氏度/瓦。在2.7伏电源的情况下,温升仅为10.5摄氏度但是如果电源是5V,短路电流是50毫安,这将导致SO-8升高41˚C,以及升高81˚CSOT23-5。如果驾驶阻力很低的负载,应记住这一点。
射穿
直通是数字电路中常见的现象输出比较器在那里有一个拉-比较器。当一个信号同时作用于这两个信号时,就会发生这种情况N沟道和P沟道输出晶体管各转一圈关掉另一个。(参见图3。)如果其中一个输出设备的响应比另一个稍快一点,即快速的可以在另一个关闭之前打开。对于一个非常短时间内,这使得电源电流可以直接流过两个输出晶体管。其结果是电流的短暂尖峰从供给中提取。

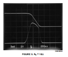
LMC7215产生300μa的小电流尖峰,峰值约为400ns,电源为2.7V,峰值为1.8mA400ns,5V电源。只有当产量从高到低。去的时候不会发生从低到高。图4和图5显示了电流脉冲在2.7V和5V电源上的样子。上层trace是输出电压,下面的trace是电源用图6中的电路测量的电流。如果电源具有非常高的阻抗,0.01μF的旁路电容器应足以将其最小化这个小电流脉冲的影响。


闩锁
在过去,大多数CMOS集成电路容易受到损坏被称为闩锁的现象。发生这种情况的原因是电流尖峰或其他大信号集成电路的引脚。LMC7215和LMC7225的设计都是为了使它们对此类损伤具有高度的抵抗力。他们已经通过了输入电流接通时的鉴定测试温度高达125°C时,任何铅的最大电流为300毫安。
安芯科创是一家国内芯片代理和国外品牌分销的综合服务商,公司提供芯片ic选型、蓝牙WIFI模组、进口芯片替换国产降成本等解决方案,可承接项目开发,以及元器件一站式采购服务,类型有运放芯片、电源芯片、MO芯片、蓝牙芯片、MCU芯片、二极管、三极管、电阻、电容、连接器、电感、继电器、晶振、蓝牙模组、WI模组及各类模组等电子元器件销售。(关于元器件价格请咨询在线客服黄经理:15382911663)
代理分销品牌有:ADI_亚德诺半导体/ALTBRA_阿尔特拉/BARROT_百瑞互联/BORN_伯恩半导体/BROADCHIP_广芯电子/COREBAI_芯佰微/DK_东科半导体/HDSC_华大半导体/holychip_芯圣/HUATECH_华泰/INFINEON_英飞凌/INTEL_英特尔/ISSI/LATTICE_莱迪思/maplesemi_美浦森/MICROCHIP_微芯/MS_瑞盟/NATION_国民技术/NEXPERIA_安世半导体/NXP_恩智浦/Panasonic_松下电器/RENESAS_瑞莎/SAMSUNG_三星/ST_意法半导体/TD_TECHCODE美国泰德半导体/TI_德州仪器/VISHAY_威世/XILINX_赛灵思/芯唐微电子等等
免责声明:部分图文来源网络,文章内容仅供参考,不构成投资建议,若内容有误或涉及侵权可联系删除。
Copyright © 2002-2023 深圳市安芯科创科技有限公司 版权所有 备案号:粤ICP备2023092210号-1