网站首页
home
产品中心
Product
MCU
智能模组
4G5G模组
NB-IOT模组
蓝牙WIFI模组
高级运算模组
晶圆
运放/锂电保护
电源芯片
DC/DC
AC/DC
同步整流
ADC-DAC模拟器件
MOS
二三极管
其他元器件
品牌总馆
BRAND
代理品牌
分销品牌
应用领域
application
新闻中心
News
公司资讯
行业动态
常见问题
选型替换
元器件百科
关于我们
About
企业介绍
企业风采
公司资质
联系我们
您现在所在位置:
主页
>
新闻中心
>
元器件百科
公司资讯
行业动态
常见问题
选型替换
元器件百科
OPA211、OPA2211是1.1nV/√Hz噪声,低功耗,小型DFN-8封装的精密运算放大器
特点•低压噪声:1kHz时为1.1nV/Hz•输入电压噪声:80nVPP(0.1Hz至10Hz)•THD+N:–136dB(...
2024-02-21
312
LM5021 交直流电流模式PWM控制器
功能描述LM5021离线脉冲宽度调制(PWM)超低启动电流(最大25μA)控制器包含所有需要的功能电流模式控制实现高效离线单端使用电流模式控制的低待机功率反激和...
2024-02-20
666
什么是磁敏晶体管,磁敏晶体管的结构、特点、原理、应用、判别及操作规程
磁敏晶体管(Magnetoresistor)是一种能够在磁场中改变电阻值的半导体装置。它是在晶体管的基础上发展起来的一种新型的AD73311LARSZ磁敏器件,...
2024-02-20
401
LTC1436A LTC1436A-PLL/LTC1437A 高效低噪声 同步降压 开关调节器(二)
应用程序信息其中是RDS(ON)和k的温度依赖性是与栅极驱动电流成反比的常数。两个MOSFET都有I2R损耗N通道方程包含了一个附加的传输损耗项,它在高输入电压...
2024-02-20
270
AD8614(单声道)和AD8644(四声道)是单电源、5.5 MHz带宽的轨对轨放大器
特征单位增益带宽:5.5MHz低压偏移:1.0mV转换速率:7.5V/μs单电源操作:5V至18V高输出电流:70mA低电源电流:800μA/放大器电容性负载大...
2024-02-20
347
LT1227 140MHz视频电流 反馈放大器
特征140MHz带宽:AV=2,RL=150Ω1100V/μs转换速率低成本30mA输出驱动电流0.01%差分增益0.01差相高输入阻抗:14M...
2024-02-20
283
什么是交流电容器,交流电容器的组成、分类、常见故障及预防措施
交流电容器是一种用于交流电路中的被动元件,主要作用是在电路中储存电荷并提供感性负载。下面详细介绍CD4013BE交流电容器的组成、特点、原理、分类、常见故障及预...
2024-02-20
274
AAT2845A是双ldo四通道背光驱动器
特征•输入电压范围:2.7V至5.5V•四通道LED驱动器:-三模电荷泵-高达20mA/通道-单线接口,易于控制-16电流电平-四个低电...
2024-02-20
282
L6375D 0.5A高压侧驱动工业智能电源开关
特征0.5A输出电流8V至35V电源电压范围内部限流热关机开放接地保护内部负电压钳位,快速消磁大共模差分输入范围和阈值滞后滞后欠压闭锁空载检测两个诊断输出输出状...
2024-02-20
300
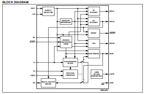
L5951 三输出多功能电压调节器 对于带IDR/CLASS 2接口的车载收音机
3个电压调节器:3.3V(100mA)备用调节器5V(100mA)备用调节器7.8伏(100毫安)5V备用调节器失调检测宽工作电源电压范围从4.5伏到26.5伏...
2024-02-20
322
首页
上一页
71
72
73
74
75
76
77
78
79
80
81
下一页
末页
友情链接:
金相显微镜
龙虾速冻机
FFU过滤单元
液位传感器
芯片代理商
注册公司代理
房产抵押贷款
企业贷款
深圳房屋抵押贷款
债务重组
电子元器件采购
老化房
卡尔费休水分仪
无锡液压元件
溅射电源
DM70露点仪
Copyright © 2002-2023 深圳市安芯科创科技有限公司 版权所有 备案号:
粤ICP备2023092210号-1
网站地图
15382911663
微信号:15382911663
微信二维码